2022年8月8日铝业行情
8月8日长江有色金属现货快讯

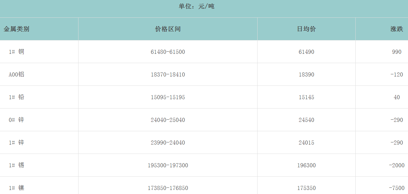
8月8日长江有色基本金属行情

8月8日中原有色市场行情

8月8日上海期货开盘行情
![]()
![]()

注:1、表中铜、铝、锌2208合约为现货合约。
2、本表中涨跌=今开盘价-昨结算价,其中昨结算是指昨日价格的加权平均价。
3、报价单位:铜、铝、锌、铅为元/吨。
8月8日上海现货(SME)基本金属行情

8月8日广东南储华南地区有色金属市场行情

8月8日广东南储华东有色金属报价

8月8日中铝股份公司主要产品每日销售报价

- 上一条信息:2022年8月5日铝业行情
- 下一条信息:2022年8月11日铝业行情

