2022年6月15日铝业行情
6月22日长江有色金属现货快讯

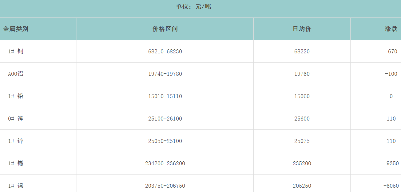
6月22日长江有色基本金属行情

6月22日中原有色市场行情

6月22日上海期货开盘行情


注:1、表中铜、铝、锌2207合约为现货合约。
2、本表中涨跌=今开盘价-昨结算价,其中昨结算是指昨日价格的加权平均价。
3、报价单位:铜、铝、锌、铅为元/吨。
6月22日上海现货(SME)基本金属行情

6月22日广东南储华南地区有色金属市场行情

6月22日广东南储华东有色金属报价

- 上一条信息:2022年6月17日铝业行情
- 下一条信息:2022年6月24日铝业行情

