2022年5月16日铝业行情
5月16日长江有色金属现货快讯

5月16日长江有色基本金属行情

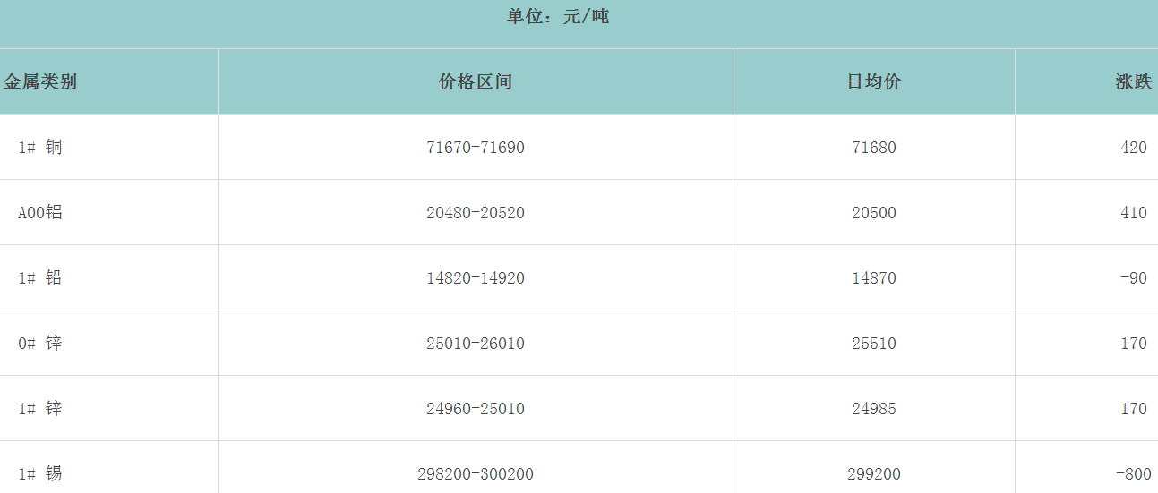
5月16日中原有色市场行情

5月16日上海期货开盘行情
![]()
![]()

注:1、表中铜、铝、锌2205合约为现货合约。
2、本表中涨跌=今开盘价-昨结算价,其中昨结算是指昨日价格的加权平均价。
3、报价单位:铜、铝、锌、铅为元/吨。
5月16日上海现货(SME)基本金属行情

5月16日广东南储华南地区有色金属市场行情

5月16日广东南储华东有色金属报价

5月16日中铝股份公司主要产品每日销售报价

- 上一条信息:2022年5月11日铝业行情
- 下一条信息:2022年5月17日铝业行情

